Our high pressure rotary seals series covers a variety of high-performance products, including RC2051, RC2052, RC2053, RC2054, RCX17, RCX18, RDI, RDA, RCS and RC2057, which are designed for reciprocating and rotary motion in hydraulic, pneumatic and water pressure environments.
RC2051 сериялары бір жақты тығыздау үшін толтырылған PTFE тісті сақиналары мен сақиналарының тіркесімін қолданады. Оның үйкелісі төмен және жоғары тығыздау сипаттамалары бар және стандартты түрге (RC2051-B) және жоғары жылдамдықты типке бөлінеді (RC2051-G).
RC2052 және RC2054 сериялары гидравликалық айналмалы екі бағыттағышқа арналған майлы қоймалармен квадрат платургия сақиналарымен жабдықталған. Құрылым жинақы және су қысымының ортасын қолдайды.
RCX17 және RCX18 сериялары жоғары сапалы PU материалдарынан жасалған, оны оңай орнатуға арналған тісті көлденең дизайны бар. Олар айналмалы білік пен айналмалы тесіктерді герметизациялауға жарамды, ал ойық дизайн өзгеруі мүмкін.
RDI және RDA сериясы PTFE герметикалық сақиналарынан, L-тәрізді пластикалық сақиналардан және жоғары қысымды, төмен жылдамдықпен, айналмалы екі жақты, бұрылысқа төзімді, жоғары қысымды, үйкеліс және ұзақ өмір сүруге жарамды.
RCS сериялары PTFE POWER OUTO метрі тығыздағыш және құрамында металл қаңқалы және PTFE герметикаланған ерін бар, ол күрделі жұмыс жағдайына жарамды.
RC2057 сериялы PTFE Oil пломбасы дәстүрлі майды итбалықтар кездестірмейтін ерекше жағдайларда жасалған.
RC2065 сериялары қарапайым құрылымдармен және оңай орнатумен айналмалы біліктерге арналған қысыммен тығыздағыш береді. Материалдар сандық резеңке (NBR) немесе FiВурораббер (FKM) болуы мүмкін.
Рухендік пломбалардың әртүрлі тығыздағыштары жоғары өмірдің, төмен үйкеліс, керемет тығыздау және ықшам құрылымға ие. Олар гидравликалық жүйелерде, пневматикалық жабдықтармен, су қысымы жабдықтарында, жоғары қысымды айналмалы машиналармен және өндірістік жабдықтармен және т.б., сізге жоғары өнімді тығыздау ерітінділерімен қамтамасыз етеді.
Өнімнің ерекшеліктері мен қосымшалары:
Өнімнің ерекшеліктері:
Ұзақ өмір: жоғары сапалы материалдар мен құрылымдық дизайн қызмет ету мерзімін ұзартады.
Төмен үйкеліс: PTFE және PU материалдары жұмыс істеп тұрған қарсылық пен тиімділікті арттырады.
Жақсы герметизация: Ерін және майлы қойманың арнайы дизайны өте зор дизайнмен жабдықталған.
Шағын құрылым: әр түрлі орнату ортасына қолайлы, шағын ғаламдық дизайн.
Кең таралған: гидравликалық, пневматикалық, су қысымына және жоғары қысымға, жоғары жылдамдықты, жылдамдықты және басқа да жұмыс жағдайларына қолайлы.
Қолдану бағыттары:
Гидравликалық жүйе, пневматикалық жабдықтар, су қысымды жабдықтары.
Жоғары қысымды айналмалы машиналар, төмен жылдамдықты ауыр жүктеме жабдықтары.
Өнеркәсіптік жабдықтар, инженерлік техника, автомобиль және аэроғарыш және басқа да кен орындар.
Материалды таңдау:
1
2. герметикалық сақиналық материал: PTFE4 стандартты материалы, басқа қосымша материалдар PTFE1, PTFE2, PTFE3, PTFE5.
RCX18 Материал: HPU.
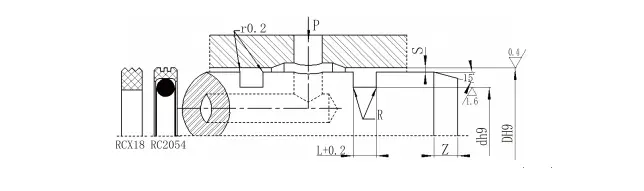
Құрылымдық диаграмма

RC2052-80x91x4.2-ptfe3-ro1 моделі-DXDXL-DXDXL-DXDXL-DXDXL-DXDXL-DXDXL-DXDXL-DXDXL-DXDXL-DXDXL-DXDXL-DXDXL-DXDXL-DXDXL-DXDXL-материалдық код
RC2054-80x69x4.2-ptfe3-ro1 моделі-D * L-Материал коды-D * L-Материалдық кодтың тапсырыс үлгісі RCX18-80x69x4.2-HPU моделі-D * D * L-Материалдық код
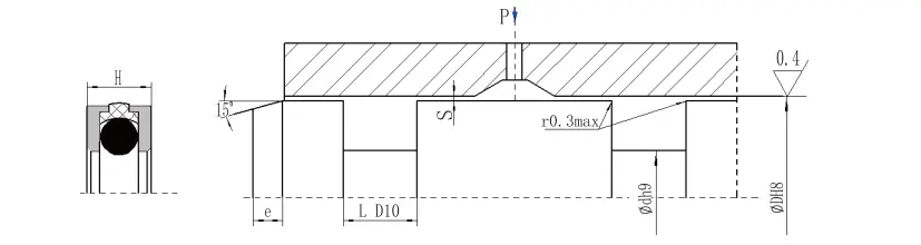
RDI орнату Өлшемдері
| DF8 | DH9 | L d10 | H | GAP S | |
| 0-10mpa | 10-36MPA | ||||
| 50-79 | D + 10 | 5 | 4.5 | 0.4-0.3 | 0.3-0.25 |
| 80-109 | D + 13.8 | 7.5 | 7 | 0.45-0.35 | 0.35-0.3 |
| 110-299 | D + 20 | 10 | 9.5 | 0.55-0.45 | 0.45-0.35 |
| 300-600 | D + 24 | 13 | 12.5 | 0.6-0.55 | 0.55-0.45 |
| > 600 | Біздің компаниямен кеңесіңіз | ||||
Түймесінің ұзындығы
| Диаметрі диаметрі | Түймесі ≥ |
| 50-56 | 6 |
| 57-100 | 7 |
| 101-290 | 10 |
| 291-600 | 15 |
Rda Орнату өлшемдері
| DH8 | DH9 | L d10 | H | GAP S | |
| 0-10mpa | 10-36MPA | ||||
| 50-124 | D-16 | 8 | 7.5 | 0.45-0.35 | 0.35-0.3 |
| 125-199 | D-20 | 10 | 9.5 | 0.55-0.45 | 0.45-0.35 |
| 200-600 | D-26 | 13 | 12.5 | 0.6-0.55 | 0.55-0.45 |
Түймесінің ұзындығы
| Диаметрі диаметрі | Түймесі ≥ |
| 50-95 | 7 |
| 96-190 | 10 |
| 191-300 | 12 |
| 301-600 | 15 |
RCS PT FE қуат майы (PTFE Oil пломбасы)
RC2057 Type Tap Fe FE FEL MOB
RCS Type Ptfe Power Moine тығыздағышы металл жақтаудан, PTFE герметикалық ерін және ішкі статикалық тығыздағыштан тұрады. Ол типке, b түріне, d түріне, D түріне және типке бөлінеді. RC2057 Type Type Толық PTFE майының тығыздағыш түрі және В түріне бөлінеді, әсіресе дәстүрлі мұнай пломбалары талаптарға сай келмейтін жағдайлар үшін жарамды. Ерекше өзгешеліктері:
1. Химиялық коррозияға төзімділік
2. Кең температуралық диапазон
3. Төмен майлау және майдысіз майлау үшін жарамды
4. Қуаттылықтың минималды тұтынуына қол жеткізу үшін төмен үйкеліс
5. Жоғары жылдамдық жылдамдығы үшін қолайлы
6. Ұзақ мерзімді өшіруден кейін іске қосу үшін жабысқақ, төмен қарсылық жоқ
7. Қаттылаланбаған біліктерге жарамды (PTFE еріннің ақылға қонымды таңдауы)
8. Қысым жоғары жағдайларда қолайлы
Ⅰ. Типтік қосымшалар:
Айналмалы компрессорлар, бұрандалы компрессорлар, беріліс / беріліс қораптары, үрлеушілер, қозғалтқыштар, машиналар сорғылары, гидравликалық қозғалтқыштар, центрифугалар және т.б.
Ⅱ. Бояу беттеріне қаттылық талаптары
Ұсынылатын қаттылық: HRC ≥ 58. Қажетті қаттылық көптеген факторларға байланысты. Жұмсақ айналмалы біліктер де төмен қысымды және төмен жылдамдықпен де қолданылады. PTFE6 ерін тақталары жұмсақ металдарға ұсынылады.
Ⅲ. Бояу беттеріне қойылатын сапа талаптары
RA = 0.2-0.63 A RZ = 1-3um RMAx = 1-4um
| Көлденең пішін | Улгі | Қысым (MPA) | Температура (℃) | Жылдамдық (Ханым) | Амал |
|
RCS-a | 0.5 | -35 ~ + 200 | 40 | Мұнай, газ, су және т.б. |
|
RCS-b | 2 | -35 ~ + 200 | 20 | Мұнай, газ, су және т.б. |
|
RCS-c | 1 | -35 ~ + 200 | 20 | Мұнай, газ, су және т.б. |
|
RCS-D | 2 | -35 ~ + 200 | 20 | Мұнай, газ, су және т.б. |
|
RC2057-A | 0.5 | -35 ~ + 200 | 30 | Барлық дерлік медиа |
|
RC2057-b | 2 | -35 ~ + 200 | 20 | Барлық дерлік медиа |
Ⅳ. Сұйық күштің спиральды ағынының үлгісі:
RCS-D түрі герметикалық қабілетін жақсарту үшін ерін тақтайшасын спиральды ағынның құрылымымен қабылдайды. Айналмалы білікке тек бір бағытта бұруға рұқсат етіледі.
RC20658 Орнату өлшемдері
| Улгі | DF8 | DH9 | L d10 | Шымма |
| RC2065A | 400-3000 | D + 16.8 | 15.1 | 1.2 |
| RC2065 | 400-3000 | D + 17.5 | ||
| > 3000 | Біздің компаниямен кеңесіңіз | |||
Түймесінің ұзындығы
| Диаметрі диаметрі | Түймесі ≥ |
| 400-1000 | 15 |
| 1001-2000 | 20 |
| 2001-3000 | 25 |
Ерекшеліктер мен өлшемдер:
| D F8 Стандарт RC2051 | D F8 Light Looft RC2051-Q | D F8 Ауыр жүктеме RC2051-Z | D H9 | L+0.2 | L1 | RЕңбек | SЕңбек | Zмин | d0 | ||
| <10МПА | <20МПА | <40МПА | |||||||||
| - | 5 ~ 15.9 | - | D + 4.5 | 3. 1 | 2.8 | 0.3 | 0.3 | 0.2 | 0. 15 | 3 | 1.8 |
| 5 ~ 15.9 | 16 ~ 38.9 | - | D + 6.3 | 4.0 | 3.7 | 0.4 | 0.4 | 0.25 | 0. 15 | 4 | 2.65 |
| 16 ~ 38.9 | 39 ~ 107.9 | 5 ~ 15.9 | D + 8.2 | 5.2 | 4.7 | 0.4 | 0.4 | 0.25 | 0.2 | 5 | 3.55 |
| 39 ~ 107.9 | 108 ~ 670.9 | 16 ~ 38.9 | D + 11.7 | 7.6 | 7. 1 | 0.5 | 0.5 | 0.3 | 0.2 | 7 | 5.30 |
| 108 ~ 670.9 | 671 ~ 999 | 39 ~ 107.9 | D + 15.5 | 9.6 | 8.9 | 0.6 | 0.6 | 0.35 | 0.25 | 10 | 7.00 |
| 671 ~ 999 | 1000 ~ 1599 | 108 ~ 670.9 | D + 19.4 | 12. 1 | 11.3 | 0.7 | 0.7 | 0.5 | 0.3 | 12 | 8.60 |
| 1000 ~ 1599 | ≥1600 | 671 ~ 999 | D +22 | 14.8 | 13.5 | 0.8 | 0.8 | 0.6 | 0.4 | 15 | 10.0 |
| ≥1600 | - | 1000 ~ 1599 | D + 26 | 17.8 | 16.3 | 1.0 | 1.0 | 0.7 | 0.6 | 20 | 12.0 |
Ескерту: 1. Білік диаметрі үшін ≤30mm үшін ашық ойықты пайдалану ұсынылады. Жабық ойыққа арналған жарық жүктемесінің түрі оңайырақ.
2. Айналмалы біліктің бетінің кермектігі HRC> 58 болуы ұсынылады.
RC2053
| Диафрагма ауқымы D H9 | Диаметрі D H9 | Ойық ені L + 0.2 | Мөрдің биіктігі L1 | Дөңгелектелген бұрыштар RЕңбек | Радиалды тазарту | Бөлігі Zмин | O-сақиналық сым диаметрі d0 | ||
| <10МПА | <20МПА | <40МПА | |||||||
| 8 ~ 12 | D-4.5 | 3.1 | 2.8 | 0.3 | 0.3 | 0.2 | 0.15 | 3 | 1.8 |
| 13 ~ 24 | D-6.3 | 4 | 3.7 | 0.4 | 0.4 | 0.25 | 0.15 | 4 | 2.65 |
| 25 ~ 51 | D-8.2 | 5.2 | 4.7 | 0.4 | 0.4 | 0.25 | 0.2 | 5 | 3.55 |
| 52 ~ 127 | D-11.7 | 7.6 | 7.1 | 0.5 | 0.5 | 0.3 | 0.2 | 7 | 5.30 |
| 128 ~ 500 | D-15.5 | 9.6 | 8.9 | 0.6 | 0.6 | 0.35 | 0.25 | 10 | 7.00 |
| 501 ~ 1600 | D-19.4 | 12.1 | 11.3 | 0.7 | 0.7 | 0.5 | 0.3 | 12 | 8.6 |
Ескерту: 1. Білік диаметрі үшін ≤ 30 мм, ашық ойық ұсынылады.
RC2052
| Білік диаметрі D F8 | Диаметрі D H9 | Ойық ені Өшпін+0.2 | Радиалды тазартуЕңбек | Дөңгелектелген бұрыштар ПатрондылықЕңбек | Бөлігі З.мин | |
| 0 ~ 10mpa | 10 ~ 20 МПа | |||||
| 6 ~ 18 | D + 4.9 | 2.2 | 0.15 | 0.1 | 0.4 | 2 |
| 19 ~ 37 | D + 7.5 | 3.2 | 0.2 | 0.15 | 0.6 | 3 |
| 38 ~ 199 | D + 11.0 | 4.2 | 0.25 | 0.2 | 1.0 | 4 |
| 200 ~ 255 | D + 15.5 | 6.3 | 0.3 | 0.25 | 1.3 | 5 |
| 256 ~ 649 | D + 21.0 | 8.1 | 0.3 | 0.25 | 1.8 | 7 |
| 650 ~ 1500 | D + 28.0 | 9.5 | 0.45 | 0.3 | 2.0 | 8 |
Ескерту: 1. Білік диаметрі үшін ≤ 30 мм, ашық ойық ұсынылады.
2. Қысқа қысым> 30 МПа үшін герметикалық түбір аймағы H8 / F8 төзімділігін пайдаланады.
RC2054| Диафрагма ауқымы D H9 | Диаметрі D H9 | Ойық ені Өшпін+0.2 | Радиалды тазартуЕңбек | Дөңгелектелген бұрыштар ПатрондылықЕңбек | Бөлігі З.мин | |
| 0 ~ 10mpa | 10 ~ 20 МПа | |||||
| 8 ~ 39 | D-4.9 | 2.2 | 0.15 | 0.1 | 0.4 | 2 |
| 40 ~ 79 | D-7.5 | 3.2 | 0.2 | 0.15 | 0.6 | 3 |
| 80 ~ 132 | D-11.0 | 4.2 | 0.25 | 0.2 | 1.0 | 4 |
| 133 ~ 329 | D-15.5 | 6.3 | 0.3 | 0.25 | 1.3 | 5 |
| 330 ~ 669 | D-21.0 | 8.1 | 0.3 | 0.25 | 1.8 | 7 |
| 670 ~ 1500 | D-28.0 | 9.5 | 0.45 | 0.3 | 2.0 | 8 |
| Қырынан бейнелеу | Улгі | Қысым (MPA) | Температура (℃) | Анықтамалық жылдамдық (Ханым) |
Сілтеме PV мәні Mpa.m / s | Құралдар |
|
RC2051-b | ≤70 (стандарт) | -35 ~ + 100 (сәйкестік O-Ring NBR) | <2 | ≤5 | Гидравликалық май, эмульсия, су, газ және т.б. Гидравликалық май, эмульсия, су, газ және т.б. |
| ≤30 (жоғары жылдамдық) | -20 ~ + 200 (Сәйкес O-сақинасы FKM) | <6 | ||||
|
RC051-g | ≤70 (стандарт) | -35 ~ + 100 (сәйкестік O-Ring NBR) | <2 | ≤5 | Гидравликалық май, эмульсия, су, газ және т.б. Гидравликалық май, эмульсия, су, газ және т.б. |
| ≤30 (жоғары жылдамдық) | -20 ~ + 200 (Сәйкес O-сақинасы FKM) | <6 | ||||
|
RC2053-b | ≤70 (стандарт) | -35 ~ + 100 (сәйкестік O-Ring NBR) | <2 | ≤5 | Гидравликалық май, эмульсия, су, газ және т.б. Гидравликалық май, эмульсия, су, газ және т.б. |
| ≤30 (жоғары жылдамдық) | -20 ~ + 200 (Сәйкес O-сақинасы FKM) | <6 | ||||
|
RC2053-g | ≤70 (стандарт) | -35 ~ + 100 (сәйкестік O-Ring NBR) | <2 | ≤5 | Гидравликалық май, эмульсия, су, газ және т.б. Гидравликалық май, эмульсия, су, газ және т.б. |
| ≤30 (жоғары жылдамдық) | -20 ~ + 200 (Сәйкес O-сақинасы FKM) | <6 | ||||
|
RC2052 | ≤40 | -35 ~ + 100 (сәйкестік O-Ring NBR) | ≤2 | ≤2.5 | Гидравликалық май, эмульсия, су, газ және т.б. Гидравликалық май, эмульсия, су, газ және т.б. |
| -20 ~ + 200 (Сәйкес O-сақинасы FKM) | ||||||
|
RCX17 | ≤20 | -35 ~ + 100 | ≤0.5 | - | Гидравликалық май, эмульсия, су, газ және т.б. |
|
RC2054 | ≤40 | -35 ~ + 100 (сәйкестік O-Ring NBR) | ≤2 | - | Гидравликалық май, эмульсия, су, газ және т.б. Гидравликалық май, эмульсия, су, газ және т.б. |
| -20 ~ + 200 (Сәйкес O-сақинасы FKM) | ||||||
|
RCX18 | ≤20 | -35 ~ + 100 | ≤0.5 | - | Гидравликалық май, эмульсия, су, газ және т.б. |
|
Rdi | <36 | -35 ~ + 100 | <0,5 | - | Гидравликалық май, эмульсия, су, газ және т.б. |
|
Rda | <36 | -35 ~ + 100 | <0,5 | - | Гидравликалық май, эмульсия, су, газ және т.б. |
|
RCS-a | 0.5 | -35 ~ + 200 | 40 | ≤6 | Мұнай, су, газ және т.б. |
|
RCS-b | 2 | -35 ~ + 200 | 20 | ≤1 | Мұнай, су, газ және т.б. |
|
RCS-c | 1 | -35 ~ + 200 | 20 | ≤6 | Мұнай, су, газ және т.б. |
|
RCS-D | 2 | -35 ~ + 100 | 20 | ≤6 | Мұнай, су, газ және т.б. |
|
RC2057-A | 0.5 | -35 ~ + 200 | 30 | ≤6 | Барлық дерлік медиа |
|
RC2057-b | 2 | -35 ~ + 200 | 20 | ≤6 | Барлық дерлік медиа |
|
RC2065 | 1 | -35 ~ + 200 | 6 | ≤1 | Гидравликалық май, эмульсия, су, май және т.б. |































































































Мекенжай
№1 Руйчэн жолы, Дунлиутинг индустриалды паркі, Ченьян ауданы, Циндао қаласы, Шаньдун провинциясы, Қытай
Тел
Электрондық пошта