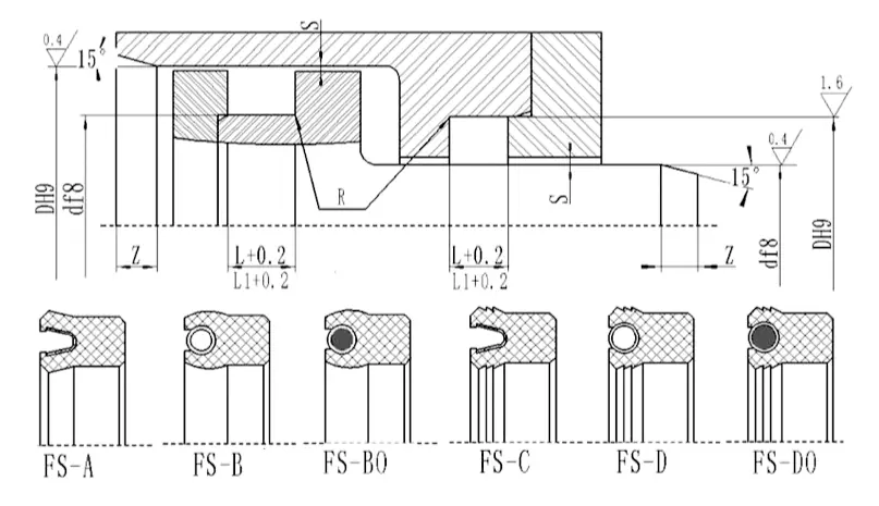
Біздің FS әмбебап көктемгі қуаттандырылған тығыздағыш - бұл әртүрлі өнеркәсіптік сценарийлер үшін жарамды, симметриялы құрылымы және әмбебап білігі бар біліктің жоғары өнімді әмбебап қуаттандырылған тығыздағыш. Бұл өнімдер сериясы түріне, В түріне, B тізіміне, C түріне, С түріне, d түріне және теруге бөлінеді. Олардың ішінде BO түрі бар және типтегі теріңіз, ол жоғары деңгейлі пластикалық және жабылған O-сақиналық комбинациясын, ол бұқаралық ақпарат құралдарына төзімді; C Type, d Type және Type Тігін түрінде тісті ерін құрылымын қабылдайды, сонымен қатар герметикалық қабілетті одан әрі жақсарту үшін, әсіресе 40MPA-дан асатын жоғары қысымды жұмыс жағдайлары үшін қолайлы.
FS әмбебап көтерілген мөрдің құрамдас керігіштігі әр түрлі герметикалық сақиналарды (мысалы, PTFE, UPE, PK, PK, PK және т.б.) және тот баспайтын болаттан жасалған бұлақтар (O-тәрізді немесе V тәрізді қосымша) және әртүрлі медиа және жұмыс жағдайында жақсы нәтиже көрсете алады. Біліктің әмбебап дизайны таңдау және орнату процесін жеңілдетеді және жоғары қысымды гидравликалық жүйелерде, пневматикалық жабдықтарда және арнайы құралдарда кеңінен қолданылады, егер сіз химиялық, мұнай, энергетика және т.с.с. өрістерінде арнайы құралдарды герметизациялаңыз.
Өнімнің ерекшеліктері мен қосымшалары:
Қолданылатын жұмыс шарттары (шекті мәндер бір уақытта көрінбеуі керек)
| Қысым MPA | Жылдамдық m / s | Температура ℃ | Амал | |
| <40, қолдануға болатын ойық ені L > 40MPA, L1 енін қолданыңыз | <10 | Өйткені / дейін -35 ~ + 250 | Өзге -200 ~ + 250 | Барлық сұйықтықтар, химиялық заттар, газдар |
Материалдық таңдау
1. Бо, Эластомер жасаңыз: жабылған O-сақина.
2. герметикалық сақиналы материал: PTFE1, PTFE2, PTFE3, PTFE4, PTFE4, UPE, PK1, PK2, PK2 және т.б.
3. Тот баспайтын болат бұлақтар O-тәрізді бұлақтар мен V-тәрізді серіппелерді таңдай алады.
Тапсырыс беру мысал
FS-A-40 * 46 * 4.7 * 4.7-PTFE4 D * D * L A түріндегі тақтайша, сақиналық материалдарды герметизациялау PTFE4,
FS-BO-40 * 46 * 46 * 4.7-PTFE4, D * D * L BO типіндегі панельдің тығыздағышы, герметикалық сақинаны герметизациялау - сақиналы жабыны бар PTFE4
Техникалық сипаттамалар (параметр диапазонындағы барлық өлшемдер)
| d | D | L+0.2 | L1+0.2(Қысым үшін қолдануға болады> 40МПА) | Радиалды тазарту Smax | Түймесінің ұзындығы Zmin | Rmax | |
| <20МПА | <40МПА | ||||||
| 3 ~ 10 | D + 3 | 2.5 | 3.9 | 0.08 | 0.05 | L | 0.4 |
| 10 ~ 22 | D + 4 | 3.2 | 4.4 | 0.10 | 0.07 | 0.4 | |
| 22 ~ 50 | D + 6 | 4.7 | 6.0 | 0.15 | 0.08 | 0.6 | |
| 48 ~ 150 | D + 10 | 7.5 | 9.0 | 0.20 | 0.10 | 0.8 | |
| 150 ~ 400 | D + 15 | 11 | 13 | 0.25 | 0.12 | 0.8 | |
ЕСКЕРТПЕ: Қажетті сипаттамалар осы кестеде көрсетілмеген. Бізге хабарласыңыз.
Біз максимум 1600 мм болатын өнімдерді жеткізе аламыз.



































Мекенжай
№1 Руйчэн жолы, Дунлиутинг индустриалды паркі, Ченьян ауданы, Циндао қаласы, Шаньдун провинциясы, Қытай
Тел
Электрондық пошта