|
Қысым/МПа |
Температура / °C |
Жылдамдық /м/с |
Орташа |
|
≤40 |
-35~+100 (сәйкес NBR сақиналары бар) |
≤2 |
Гидравликалық май, эмульсия, су, газ және т.б. |
-20~+200 (Сәйкес O-сақиналарымен FKM) |
1. Қолайлы тығыздағыш сақина материалдарына мыналар жатады: R01 нитрил бутадиенді каучук (NBR), R02 фторкаучук (FKM) және т.б.
2. Тығыздағыш сақина материалдары: PTFE3 және PTFE4 стандартты материалдар; басқа қосымша материалдарға PTFE1, PTFE2 және PTFE5 кіреді.
Ruichen барлық өнімдер тізбегін бақылауды жүзеге асыра отырып, шикізаттың басынан бастап тәуелсіз зерттеулер мен тәжірибелер мен өндірістерді жүзеге асырды.
1. Инженерлік пластмассалар және композиттік материалдар: Біз политетрафторэтиленді (PTFE) өзегі ретінде араластыру, агломерациялаудан қалыптауға, толтырылған модификацияланған композиттік материалдардың түтіктері мен штангаларының барлық түрлерін тәуелсіз өндіруге, содан кейін тығыздағыштарға дәл өңдеуге аламыз. Бұл материал қасиеттерінің тұрақтылығы мен теңшеу мүмкіндігін қамтамасыз етеді.
2. Жоғары өнімді полиуретанды эластомері: Біз алдын ала полимерлі құюдан бастаймыз, өз бетінше жоғары сапалы полиуретанды құбырлар мен өзек материалдарын шығарамыз және оларды тозуға төзімділігі, қысымға төзімділігі және гидролизге төзімділігімен ерекшеленетін әртүрлі тығыздағыштарға өңдейміз.
Тапсырыс беру мысалы
Тапсырыс үлгісі RC2054—80×69×4.2—PTFE3—R01 Модель-D*d*L- Материалдық код Тапсырыс беру үлгісі RCX18—80×69x4.2—HPU үлгісі-D*d*L- Материал коды
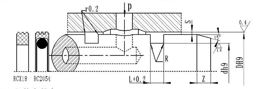
Техникалық сипаттамалар мен параметрлер кестесі (параметрлер ауқымындағы кез келген спецификация бар)
|
Диафрагма диапазоны DH9 |
Шұңқырдың диаметрі dh9 |
Шұңқырдың ені L+0,2 |
Радиалды клиренс Smax |
Дөңгеленген бұрыштар Rmax |
Фака Змин |
|
|
0~10Мпа |
10~20Мпа |
|||||
|
8~39 |
D-4.9 |
2.2 |
0.15 |
0.1 |
0.4 |
2 |
|
40~79 |
D-7.5 |
3.2 |
0.2 |
0.15 |
0.6 |
3 |
|
80~132 |
D-11.0 |
4.2 |
0.25 |
0.2 |
1.0 |
4 |
|
133~329 |
D-15.5 |
6.3 |
0.3 |
0.25 |
1.3 |
5 |
|
330~669 |
D-21.0 |
8.1 |
0.3 |
0.25 |
1.8 |
7 |
|
670~1500 |
D-28,0 |
9.5 |
0.45 |
0.3 |
2.0 |
8 |
|
D |
d |
L |
D |
d |
L |
D |
d |
L |
D |
d |
L |
|
8 |
3.1 |
2.2 |
50 |
42.5 |
3.2 |
170 |
154.5 |
6.3 |
380 |
359.0 |
8.1 |
|
10 |
5.1 |
2.2 |
55 |
47.5 |
3.2 |
180 |
164.5 |
6.3 |
390 |
369.0 |
8.1 |
|
12 |
7.1 |
2.2 |
60 |
52.5 |
3.2 |
190 |
174.5 |
6.3 |
400 |
379.0 |
8.1 |
|
14 |
9.1 |
2.2 |
63 |
55.5 |
3.2 |
200 |
184.5 |
6.3 |
420 |
399.0 |
8.1 |
|
15 |
10.1 |
2.2 |
65 |
57.5 |
3.2 |
210 |
194.5 |
6.3 |
450 |
429.0 |
8.1 |
|
16 |
11.1 |
2.2 |
70 |
62.5 |
3.2 |
220 |
204.5 |
6.3 |
480 |
459.0 |
8.1 |
|
18 |
13.1 |
2.2 |
75 |
67.5 |
3.2 |
230 |
214.5 |
6.3 |
500 |
479.0 |
8.1 |
|
20 |
15.1 |
2.2 |
80 |
69.0 |
4.2 |
240 |
224.5 |
6.3 |
520 |
499.0 |
8.1 |
|
22 |
17.1 |
2.2 |
85 |
74.0 |
4.2 |
250 |
234.5 |
6.3 |
550 |
529.0 |
8.1 |
|
24 |
19.1 |
2.2 |
90 |
79.0 |
4.2 |
260 |
244.5 |
6.3 |
600 |
579.0 |
8.1 |
|
25 |
20.1 |
2.2 |
95 |
84.0 |
4.2 |
270 |
254.5 |
6.3 |
630 |
609.0 |
8.1 |
|
28 |
23.1 |
2.2 |
100 |
89.0 |
4.2 |
280 |
264.5 |
6.3 |
650 |
629.0 |
8.1 |
|
30 |
25.1 |
2.2 |
105 |
94.0 |
4.2 |
290 |
274.5 |
6.3 |
670 |
642.0 |
9.5 |
|
32 |
27.1 |
2.2 |
110 |
99.0 |
4.2 |
300 |
284.5 |
6.3 |
700 |
672.0 |
9.5 |
|
35 |
30.1 |
2.2 |
115 |
104.0 |
4.2 |
310 |
294.5 |
6.3 |
750 |
722.0 |
9.5 |
|
36 |
31.1 |
2.2 |
120 |
109.0 |
4.2 |
320 |
304.5 |
6.3 |
800 |
772.0 |
9.5 |
|
38 |
33.1 |
2.2 |
125 |
114.0 |
4.2 |
330 |
309.0 |
8.1 |
1000 |
972.0 |
9.5 |
|
40 |
32.5 |
3.2 |
130 |
119.0 |
4.2 |
340 |
319.0 |
8.1 |
|
|
|
|
42 |
34.5 |
3.2 |
140 |
124.5 |
6.3 |
350 |
329.0 |
8.1 |
|
|
|
|
45 |
37.5 |
3.2 |
150 |
134.5 |
6.3 |
360 |
339.0 |
8.1 |
|
|
|
|
48 |
40.5 |
3.2 |
160 |
144.5 |
6.3 |
370 |
349.0 |
8.1 |
|
|
|
Ескертпе: Міндетті техникалық сипаттамалар мұнда тізімделмеген; біздің компанияға хабарласыңыз. Біз максималды диаметрі 2800 мм өнімдерді ұсынамыз.



Мекенжай
№1 Руйчэн жолы, Дунлиутинг индустриалды паркі, Ченьян ауданы, Циндао қаласы, Шаньдун провинциясы, Қытай
Тел
Электрондық пошта