Сақтау сақинасы o-сақинамен немесе жұлдызды сақинамен бірге қолданылады, ол тығыздау сақинасының қысым әсерінен төмен қысқы жағындағы алшақтықтан арылуға жол бермейді. Қысым күшейе түсе отырып, герметикалық сақинаны «экструзия» бүлдіреді және ақырында мөрленбейді. Егер ұстап тұрған сақина қолданылса, герметикалық сақинаның «экструзиясына» жол берілуі мүмкін. Сондықтан, ұстап тұрған сақина - герметикалық сақинаға қосымша. Бұл мөрдің өзі емес, бірақ ол герметикалық сақинаның жұмыс қысымының диапазонын арттырады.
Сақтау сақинасы O-Ring-мен «экструзиядан» алдын алу, сақинаны тиімді түрде қорғаңыз, қызмет ету мерзімін ұзартып, герметикалық алшақтықты, осылайша өңдеу шығындарын азайтуға мүмкіндік береді.
Өнімнің ерекшеліктері мен қосымшалары:
Сақиналық нысан және құрылым түрі
Техникалық мәліметтер
Жұмыс қысымы: статикалық тығыздағыш 200 МПА-ға жетуі мүмкін (ұстайтын сақинаның материалы мен тығыздағышына байланысты), алдағы мөр 40 МПА-ға жетуі мүмкін. Жылдамдықты бұру / жылдам айналдыру шамамен 15 МПа жетуі мүмкін.
Жылдамдық: өзара әрекеттесу және бұру шамамен 2 м / с жетеді (материалға байланысты).
Стандарттарға тапсырыс беру
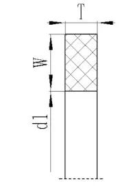
(1) T01 сериялы сақиналар диаметрлі D1 ішкі диаметрі, ені және қалыңдығы Т.
Мысал: T01-00356 D1: 3.56 * W: 1.35 * Т: 1.23
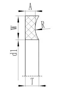
(2) T02 сериялы сақиналар ішкі диаметрі D1, ені және қалыңдығы A және T.
Мысал: T02-027 D1: 33.78 * W: 1.35 * A: 1.14 * T: 1.24



Мекенжай
№1 Руйчэн жолы, Дунлиутинг индустриалды паркі, Ченьян ауданы, Циндао қаласы, Шаньдун провинциясы, Қытай
Тел
Электрондық пошта