Циндао Руйчэн тығыздағыш технологиясы Co., Ltd.
Циндао Руйчэн тығыздағыш технологиясы Co., Ltd.
Құралдар
X

Шыны жуғыш сақина

Рухен тығыздағышты екі қабатты ерін полигоны (әйгілі поршеньдер герметикалық тығыздағышы және Қытайдағы жеткізуші) толтырылған PTFE пломбаланған сақинадан және сақинадан тұрады. Ол екі жақты шаңды қорғау және автоматты түрде өтеу функциялары, төмен үйкеліс, ұзақ өмірлік, ұзақ өмірлік және күшті бейімделушілікке ие және әртүрлі өнеркәсіптік қозғалыс сценарийлерінде кеңінен қолданылады және спираль сияқты әр түрлі.

Өнімділік және қосымшалар

Екі қабатты аралас тазалағыш тығыздағыш - бұл екі бағытты жуғыш майлаушы пломер, екіге ерінге арналған жуғыш сақина мен сақинадан тұрады. O-сақина алдын-ала жүктеуді қамтамасыз етеді, PTFE сақинасында тозуды өтейді. Ол өзара әрекеттесуге, тербелуге немесе спиральды қозғалысқа жарайды.


Жұмыс шарттары

Қысым MPA

Температура ° C

Жылдамдық m / s

Амал

-

-35 ~ + 100 (сәйкестік O-Ring NBR)

6

Гидравликалық май, эмульсия, су және т.б.

-20 ~ + 200 (Сәйкес O-сақинасы FKM)


Тапсырыс беру мысал

RCF02-80-ptfe3-r01 тапсырыс үлгісінің моделі

RCF02 - 80-модель - PTFE3 білікті диаметрі - жалпы мақсаттағы модификацияланған PTFE RO1 - сәйкес резеңке материал коды

Nitrile (NBR) - R01, фторларон (FKM) - RO2

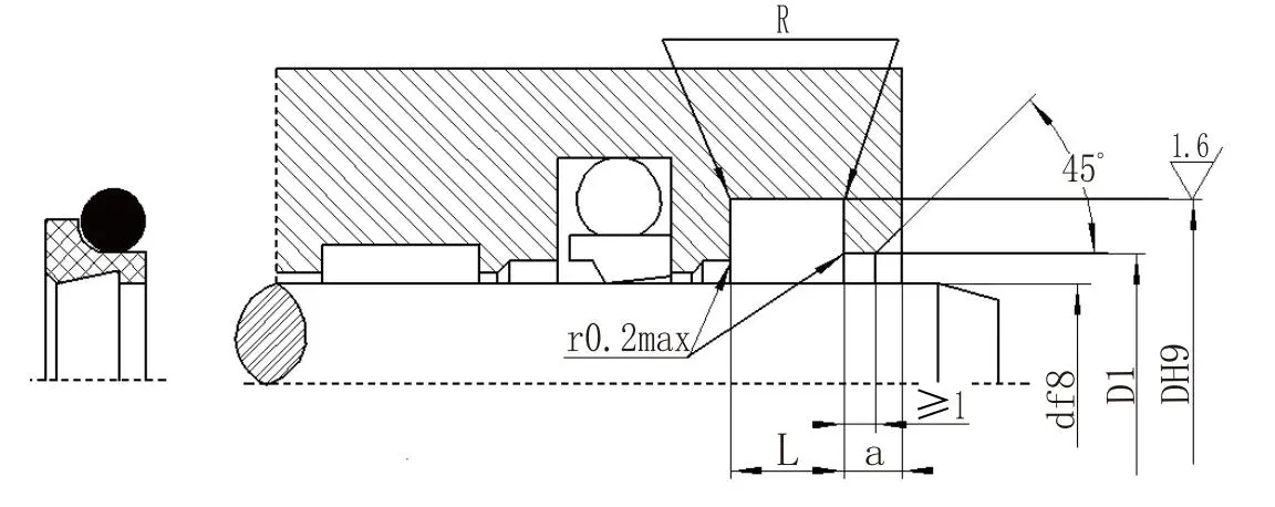
Ерекшелік параметрі кестесі (параметр диапазонындағы кез-келген мөлшердегі өнімдер)

Білік диаметрі D F8

Диаметрі D H9

Ойық ені Өшпін+0.2

Ашық тесік диаметрі

D1H11

Ашық шұңқырдың ені а »

Дөңгелектелген бұрыштар R

O-сақиналық сым диаметрі

d0

4 ~ 11

D + 4.8

3.7

D + 1.5

2

0.4

1.80

12 ~ 64

D + 6.8

5.0

D + 1.5

2

0.7

2.65

65 ~ 250

D + 8.8

6.0

D + 1.5

3

1.0

3.55

251 ~ 420

D + 12.2

8.4

D + 2.0

4

1.5

5.30

421 ~ 650

D + 16.0

11.0

D + 2.0

4

1.5

7.00

651 ~ 1500

D + 20.0

14.0

D + 2.5

5

2.0

8.60


Hot Tags: Шыны жуғыш сақина
Сұрау жіберу
Байланыс ақпараты
  • Мекенжай

    №1 Руйчэн жолы, Дунлиутинг индустриалды паркі, Ченьян ауданы, Циндао қаласы, Шаньдун провинциясы, Қытай

  • Электрондық пошта

    info.sealing@ruichenseal.com

Бәсекеге қабілетті бағалар, техникалық қолдау және жылдам жауаптар алыңыз. Техникалық сипаттамаларыңызды герметикалық шешімдер үшін қайта өңдеуге жіберіңіз. Тегін үлгілер қол жетімді.
X
Біз cookie файлдарын сізге жақсырақ шолу тәжірибесін ұсыну, сайт трафигін талдау және мазмұнды жекелендіру үшін пайдаланамыз. Осы сайтты пайдалану арқылы сіз cookie файлдарын пайдалануымызға келісесіз. Құпиялылық саясаты
Қабылдамау Қабылдау