Циндао Руйчэн тығыздағыш технологиясы Co., Ltd.
Циндао Руйчэн тығыздағыш технологиясы Co., Ltd.
Құралдар
X

TC майлы тығыздағыштар

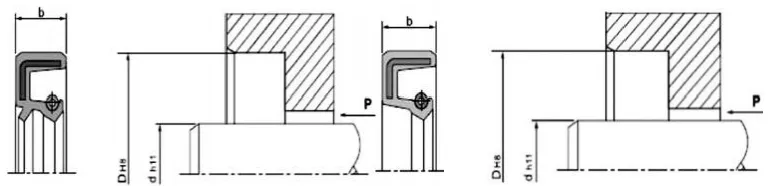
Айналмалы білік ерінді тығыздағыштар, әдетте майлы тығыздағыштар деп аталады, мойынтіректің корпусында орнатылады және айналмалы білікке қатысты қозғалады. Металл қаңқа тіреуішті қамтамасыз етеді, ал серіппе майлаудың ағып кетуін және сыртқы ластаушы заттардың енуін болдырмау үшін тығыздағыш ерінге радиалды алдын ала жүктемені қолданады.

Орнату құрылымы мен талаптары

1. Білік материалы: Көбінесе көміртекті болат және тот баспайтын болат қолданылады. Жоғары жылдамдықтар үшін бетіне хромдау қолданылады, HRC40-45.

2. Айналмалы білік пен ойықтардың конструкциясы: Білік беті тегіс және саңылаусыз болуы керек. Спиральды өңдеу белгілері ағып кетуге әкелетін айдау әсерін тудыруы мүмкін. Майлы тығыздағышты орнату аймағын Ra0,1-0,5μm бетінің кедір-бұдырына дейін тегістеу ұсынылады, бұл жылдамдық артқан сайын тегіс болады. Орнату мен бөлшектеуді жеңілдету үшін білік пен ойықтар фаскалармен немесе дөңгелектелген жиектермен жасалуы керек 1 және 2-суреттерді қараңыз.

Тығыздау биіктігі

b

b1(0,85xb)

мм

b2(b+0,3)

мм

r

макс.

7

5.95

7.3

0.5

8

6.80

8.3

0.5

10

8.50

10.3

0.5

12

10.30

12.3

0.7

15

12.75

15.3

0.7

20

17.00

20.3

0.7

Сурет 1. Ойық фаскасының дизайны


d

d3

R

<10

d-1.5

2

10~20

d-2,0

2

20~30

d-2.5

3

30~40

d-3.0

3

40~50

d-3.5

4

50~70

d-4.0

4

70~95

d-4.5

5

95~130

d-5.5

6

130~240

d-7,0

8

240~500

d-11.0

12

500~800

d-14.0

14

800~1250

d-18,0

16

2-сурет Айналмалы біліктің факасының конструкциясы


Айналмалы білік ерінді тығыздағыштардың өнімділігіне әсер ететін факторлар 

Тығыздау әсеріне әсер ететін ондаған факторлар бар. Майлы тығыздағыштың өзінен басқа, оның материалы мен құрылымы, орта, температура, қысым, майлау, жылдамдық және бетінің кедір-бұдыры сияқты басқа факторлар да тығыздау әсеріне тікелей әсер етеді және бұл факторлар жиі бір-бірімен өзара әрекеттеседі. Төмендегі диаграммалар тек пайдаланушы анықтамасына арналған.

Сурет 3. Майлы тығыздағышқа температураның әсері


Орнату: Мұқият орнату майлы тығыздағыштардың дұрыс жұмыс істеуінің міндетті шарты болып табылады.

Орнату схемасы (қуысты орнату)

Дұрыс орнату әдісі

Қолданылатын еңбек жағдайлары

Дұрыс емес орнату әдісі

Бұл әдіс май тығыздағыштың шеткі беті мен қуыстың шеткі беті бірдей болған кезде ғана қолданылады. Престеу жабдығы жылдам жұмыс істегенде, май тығыздағышты дұрыс орналастыру керек; әйтпесе сәйкессіздік орын алуы мүмкін.

 

Бұл дизайн майлы тығыздағыштың соңғы беті қуыстың соңғы бетінен төменірек болатын жағдайларға жарамды. Жылдам басудың өзінде май тығыздағышты жақсы орналастыруға болады. Дегенмен, арматураның бұл түрінің радиалды орналасуы жоқ, сондықтан престеу құрылғысының жалпақ табақшасы мен қысым білігінің осьтік перпендикулярлығы белгілі бір дәлдікке жетуі керек.

Бұл әдіс майлы тығыздағыштың соңғы беті қуыстың соңғы бетінен төменірек болатын жағдайларға жарамды. Жабдықты жылдам басқан кезде, май тығыздағыштың дұрыс орналасуын қамтамасыз ету өте маңызды; әйтпесе сәйкессіздік орын алуы мүмкін.


 

 


Бұл әдіс қысымды жабдық жоқ жерде техникалық қызмет көрсету немесе қарапайым орнату жағдайлары үшін ғана жарамды. Орнату кезінде біркелкі басуға қол жеткізу мүмкін болмағандықтан, орнатудың әртүрлі мәселелері сөзсіз. Ол, ең алдымен, монтаждау кезінде майлы тығыздағышты деформациялауы мүмкін радиалды туралауды болдырмауға немесе орнату кезінде үзілістерге байланысты май тығыздағыштың түйісетін бөлігінің (сыртқы шеңбер) резеңкесінің зақымдалуын болдырмауға арналған. Сондықтан бұл орнату әдісі әдетте ұсынылмайды.

 

TC/SC/TB/SB майлы тығыздағыштар

Екеуі де металл жақтаудан, серіппеден және резеңке корпустан тұрады. Металл жақтау қолдауды қамтамасыз етеді, ал серіппе тығыздағыш ерінге радиалды күш береді. TC және TB модельдерінің екеуінде шаң өткізбейтін қосалқы ерін бар, ол бір жағында тығыздағыш орта, ал екінші жағында шаң бар қолданбаларға жарамды. TB/SB үлгілерінің металл сыртқы шеңбері бар, бұл май тығыздағышын қуыс ішінде сенімдірек және дәлірек етеді. Дегенмен, сыртқы шеңбердің тығыздау қабілеті төмен тұтқыр және газ тәрізді орталар үшін шектелген; сондықтан орнату және пайдалану кезінде сыртқы шеңберге тығыздағышты қолдану ұсынылады.

Көлденең қима пішіні

Үлгі

Қолданба

Қысым

Температура

Жылдамдық

Орташа

Материал

TC

Тығыздау, шаң өткізбейтін

0,03 МПа

-30~+160

20м/с

Майлау және майлау

NBR/FKM + Көміртекті болат

SC

Тығыздау

туберкулез

Тығыздау, шаң өткізбейтін

-30~+100

25 м/с

Су, майлау, майлау

NBR + көміртекті болат

SB

Тығыздау

Тапсырыс үлгісі TC-d*D*b

Техникалық сипаттама

Техникалық сипаттама

Техникалық сипаттама

Техникалық сипаттама

Техникалық сипаттама

Техникалық сипаттама

Техникалық сипаттама

ТК-6*17*3,5

TC-9*25*7

TC-10*30*7

ТК-12*25*10

TC-13*25*7

TC-14*32*8

TC-15*30*7

TC-7*18*7

TC-10*18*7

TC-11*22*7

TC-12*26*7

TC-13*26*7

ТК-14*32*10

TC-15*30*8

TC-8*18*7

TC-10*19*7

TC-I1*25*7

TC-12*28*7

TC-13*28*7

TC-14*35*7

ТК-15*30*10

TC-8*20*7

ТК-10*20*5

ТК-11*30*10

TC-12*28*8

TC-13*30*8

TC-14*35*8

TC-15*32*7

TC-8*22*7

TC-10*20*7

TC-12*19*3

TC-12*30*7

TC-14*24*7

TC-14*40*7

ТК-15*32*10

TC-8*22*8

ТК-10*22*5

TC-12*20*7

ТК-12*30*10

TC-14*25*7

TC-15*22*8

ТК-15*35*7

TC-8*25*7

TC-10*22*7

TC-12*21*7

TC-12*32*7

TC-14*26*7

TC-15*24*7

TC-15*35*8

TC-8*25*8

TC-10*22*8

ТК-12*22*5

TC-12*32*10

TC-14*27*7

ТК-15*25*5

ТК-15*35*10

TC-8*30*7

ТК-10*22*10

ТК-12*22,5*5,5

TC-12*35*7

TC-14*28*7

ТК-15*25*7

TC-15*38*7

TC-9*16*5

TC-10*24*7

TC-12*22*7

ТК-12*35*10

TC-14*28*8

ТК-15*25*8

TC-15*38*8

TC-9*18*7

ТК-10*25*5

TC-12*22*8

ТК-12,7*22,22*5

ТК-14*28*10

TC-15*26*7

ТК-15*38*10

TC-9*19*7

TC-10*25*7

TC-12*24*6

ТК-12,7*25,4*7

TC-14*29*7

TC-15*27*7

ТК-15*40*8

TC-9*20*7

ТК-10*25*10

TC-12*24*7

TC-12,7*26*8

TC-14*30*7

TC-15*27*8

ТК-15*40*10

TC-9*22*7

TC-10*26*7

TC-12*25*7

ТК-12,7*30*8

ТК-14*30*10

TC-15*28*7

TC-15*42*7

TC-9*24*7

TC-10*28*7

ТК-12*25*8

TC-13*23*7

TC-14*32*7

ТК-15*28*10

TC-15*42*8

 




Hot Tags: TC майлы тығыздағыштар
Сұрау жіберу
Байланыс ақпараты
  • Мекенжай

    №1 Руйчэн жолы, Дунлиутинг индустриалды паркі, Ченьян ауданы, Циндао қаласы, Шаньдун провинциясы, Қытай

  • Электрондық пошта

    info.sealing@ruichenseal.com

Бәсекеге қабілетті бағалар, техникалық қолдау және жылдам жауаптар алыңыз. Техникалық сипаттамаларыңызды герметикалық шешімдер үшін қайта өңдеуге жіберіңіз. Тегін үлгілер қол жетімді.
X
Біз cookie файлдарын сізге жақсырақ шолу тәжірибесін ұсыну, сайт трафигін талдау және мазмұнды жекелендіру үшін пайдаланамыз. Осы сайтты пайдалану арқылы сіз cookie файлдарын пайдалануымызға келісесіз. Құпиялылық саясаты
Қабылдамау Қабылдау