Циндао Руйчэн тығыздағыш технологиясы Co., Ltd.
Циндао Руйчэн тығыздағыш технологиясы Co., Ltd.
Құралдар
X

Онда SPGO

Егер сіз жоғары жылдамдықты гидравликалық және пневматикалық қосымшалар үшін SPGGO пломбаларын іздесеңіз, жеткізуші ретінде қайта жасалған итбалықтарды таңдаңыз. Біз модификацияланған PTFE пломбалары мен сақиналарының тіркесімін қолданамыз. Біздің өнімдеріміз керемет герметикалық, ультра төмен үйкеліс және ықшам дизайн ұсынады, оларды әсіресе жоғары жылдамдықты гидравликалық және пневматикалық цилиндрлер үшін қолайлы етеді.

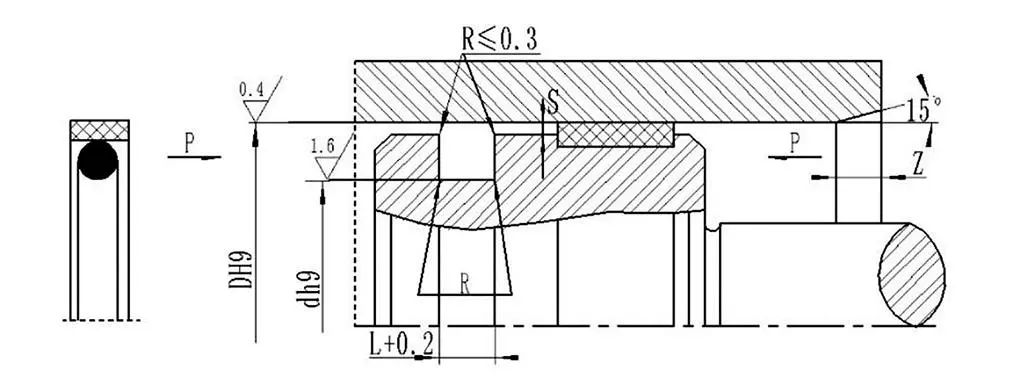
SPGO пломбасы - бұл тіктөртбұрышты модификацияланған PTFE гердені сақинасының және алдын-ала жүктеу элементі ретінде O-сақинаның тіркесімі. Ол керемет тығыздауды, үйкелісті және ықшам із ұсынады. Бұл жоғары жылдамдықты гидравликалық немесе пневматикалық цилиндрлерге жарамды.


Қолданылатын жұмыс шарттары (шекті мәндер бір уақытта көрінбеуі керек)

Қысым

Максималды экструзиясы бар

Жылдамдық

Температура

Амал

<16 MPA

S <0.6mm

<6 м / с

-35 ~ + 110

Минералды май (NBR резеңке бар)

<25 MPA

S <0.4mm

-20 ~ + 200

Минералды май (FKM резеңке бар)

<40 MPA

S <0,2 мм

-30 ~ + 100

Ауа


Материалдық таңдау

1. O-сақиналық материалдар: R01 Нитриил-бутадиен резеңке (NBR), RO2 FIERORURURUBBER (FKM)

2. Сақина материалдары: стандартты материал: PTFE3; Басқа қол жетімді материалдар: PTFE1, PTFE2 және PTFE4.

Тапсырыс беру мысалы: rc66-d * d * l-ptfe3-r01 (сыртқы диаметрі * ішкі диаметрі * ішкі диаметрі * ойық ені) PTFE3, R01-Материалдық код




Hot Tags: Онда SPGO
Сұрау жіберу
Байланыс ақпараты
  • Мекенжай

    №1 Руйчэн жолы, Дунлиутинг индустриалды паркі, Ченьян ауданы, Циндао қаласы, Шаньдун провинциясы, Қытай

  • Электрондық пошта

    info.sealing@ruichenseal.com

Бәсекеге қабілетті бағалар, техникалық қолдау және жылдам жауаптар алыңыз. Техникалық сипаттамаларыңызды герметикалық шешімдер үшін қайта өңдеуге жіберіңіз. Тегін үлгілер қол жетімді.
X
Біз cookie файлдарын сізге жақсырақ шолу тәжірибесін ұсыну, сайт трафигін талдау және мазмұнды жекелендіру үшін пайдаланамыз. Осы сайтты пайдалану арқылы сіз cookie файлдарын пайдалануымызға келісесіз. Құпиялылық саясаты
Қабылдамау Қабылдау